bevictor伟德官网 - 韦德官方网站
设为首页
|
加入收藏
bevictor伟德官网
首页
关于我们
bevictor伟德官网简介
组织架构
公司领导
团队队伍
教学管理
教学活动
专业设置
学科竞赛
党政工团
党务活动
团学活动
工会活动
教研科研
员工工作
人才招聘
招生简章
就业指导
员工风采
实验室与基地建设
实验室
实验实训中心
通信与物联网工程省级实验教学示范中心
机电一体化省级实验教学中心
电气工程校级综合实践示范中心
智能制造实训中心
实践基地
工作室
专升本
评建专栏
相关栏目
招生简章
就业指导
员工风采
热点文章
首页
»
人才招聘
»
正文
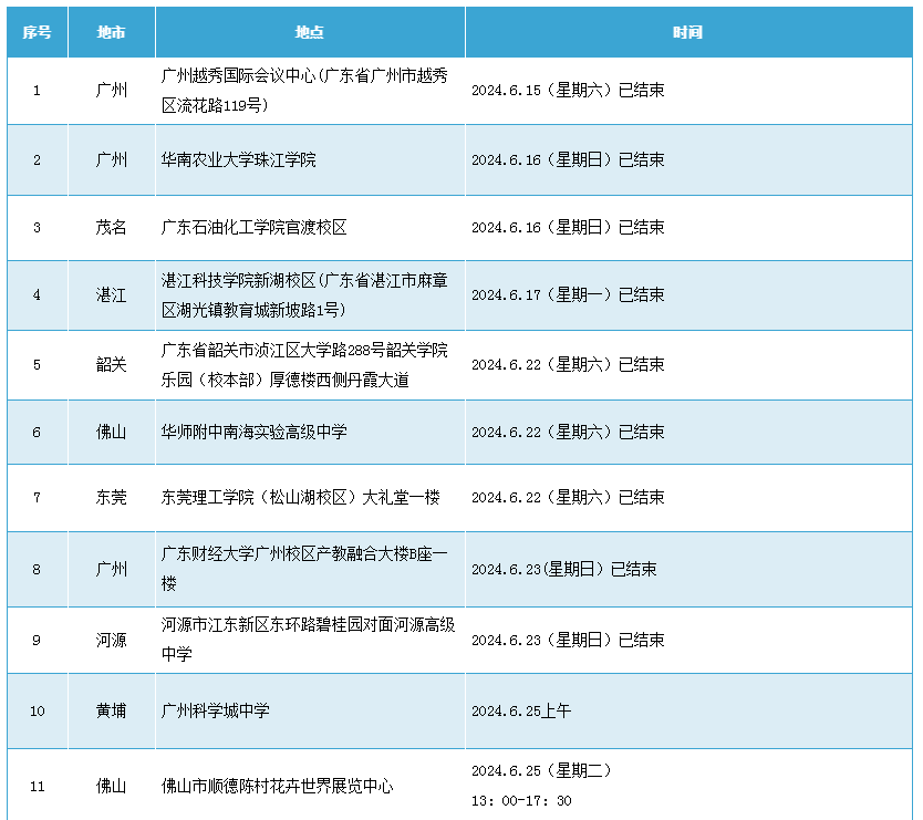
韦德官方网站2024年普通本科线下招生咨询会安排表
发布时间:2024年06月24日
来源: 韦德官方网站官网
字体大小:
小
中
大
版权所有 bevictor伟德官网 - 韦德官方网站
地址:十一号教学楼201 电话:020-39729794